☰
Продукция
Карьерные экскаваторы
Мельницы
Шагающие экскаваторы
Дробилки
Электродвигатели
Услуги
Услуги по обслуживанию карьерных экскаваторов серии ЭКГ
Услуги по капитальному ремонту экскаваторного парка типа ЭКГ
Ремонт крупных электрических машин постоянного тока
Сервисное обслуживание и ремонт стационарного оборудования
Информационные технологии и связи
Компания
Контакты
Выполненные работы
Фотогалерея
+7
(7212)
780 085
Продукция
Услуги
Компания
Контакты
Выполненные работы
Фотогалерея
✖ Закрыть
Главная
Каталог ЭКГ-5А
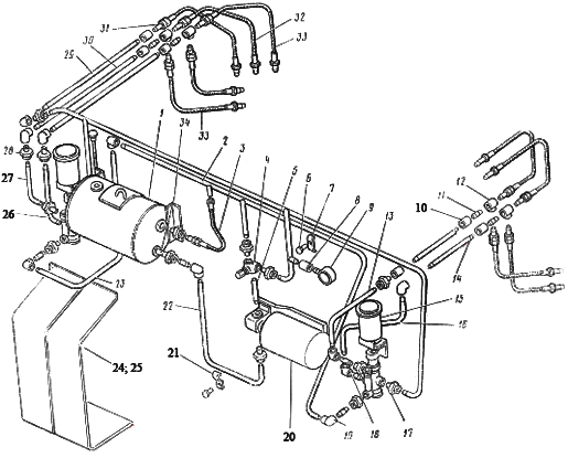
Гидравлическая система экскаватора 1080.37.00 СБ
Золотник 1001.14.136 СБ
Золотник 1001.14.136 СБ
Бак гидросистемы 1080.37.01 СБ
Коллектор 1080.37.49 СБ
Рукав 1080.37.65 СБ
Клапан 1080.37.38 СБ
Ниппель 1080.37.95
Болт М10х45.58
Скоба 1080.37.90
Муфта 1080.37.76
Манометр ОБМ1-100х40
Муфта 20х10
Ниппель К Труб. 3/8''х36
Тройник 10
Колено 1080.37.79
Труба 1080.37.94
Золотник 1001.14.136 СБ
Колено 1080.37.78
Гайка соединительная 1080.37.23 СБ
Ниппель К Труб. 3/4''х52
Угольник 20
Насос шестеренный БГ11-22
Крепление 28-1 01197.00-1
Колено 1080.37.81
Колено 1080.37.73
Кожух левый 1080.37.56 СБ
Кожух правый 1080.37.61 СБ
Колено 1080.37.75
Колено 1080.37.74
Гайка соединительная 1080.37.18 СБ
Труба 1080.37.94-02
Труба 1080.37.94-01
Рукав 1080.37.65-03 СБ
Рукав 1080.37.65-02 СБ
Рукав 1080.37.65-01 СБ
Фильтр 1080.37.68 СБ
Заказать
Продукция
Карьерные экскаваторы
Мельницы
Шагающие экскаваторы
Дробилки
Электродвигатели
Услуги
Услуги по обслуживанию карьерных экскаваторов серии ЭКГ
Услуги по капитальному ремонту экскаваторного парка типа ЭКГ
Ремонт крупных электрических машин постоянного тока
Компания
О компании
`
Заявка на заказ
Спасибо. Заявка принята. В ближайшее время с Вами свяжется наш менеджер.
Обратная связь
Спасибо. В ближайшее время с Вами свяжется наш менеджер.