- Главная
- Каталог ЭКГ-5А
- Тележка ходовая 1080.26.00 СБ
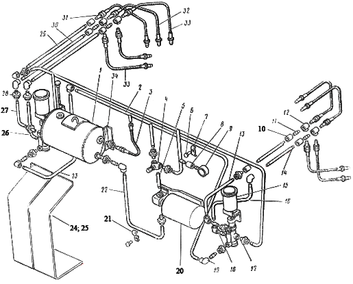
- Гидравлическая система экскаватора 1080.37.00 СБ
Гидравлическая система экскаватора 1080.37.00 СБ
- Бак гидросистемы 1080.37.01 СБ
- Коллектор 1080.37.49 СБ
- Рукав 1080.37.65 СБ
- Клапан 1080.37.38 СБ
- Ниппель 1080.37.95
- Болт М10х45.58
- Скоба 1080.37.90
- Муфта 1080.37.76
- Манометр ОБМ1-100х40
- Муфта 20х10
- Ниппель К Труб. 3/8''х36
- Тройник 10
- Колено 1080.37.79
- Труба 1080.37.94
- Золотник 1001.14.136 СБ
- Колено 1080.37.78
- Гайка соединительная 1080.37.23 СБ
- Ниппель К Труб. 3/4''х52
- Угольник 20
- Насос шестеренный БГ11-22
- Крепление 28-1 01197.00-1
- Колено 1080.37.81
- Колено 1080.37.73
- Кожух левый 1080.37.56 СБ
- Кожух правый 1080.37.61 СБ
- Колено 1080.37.75
- Колено 1080.37.74
- Гайка соединительная 1080.37.18 СБ
- Труба 1080.37.94-02
- Труба 1080.37.94-01
- Рукав 1080.37.65-03 СБ
- Рукав 1080.37.65-02 СБ
- Рукав 1080.37.65-01 СБ
- Фильтр 1080.37.68 СБ


