☰
Продукция
Карьерные экскаваторы
Мельницы
Шагающие экскаваторы
Дробилки
Электродвигатели
Услуги
Услуги по обслуживанию карьерных экскаваторов серии ЭКГ
Услуги по капитальному ремонту экскаваторного парка типа ЭКГ
Ремонт крупных электрических машин постоянного тока
Сервисное обслуживание и ремонт стационарного оборудования
Информационные технологии и связи
Компания
Контакты
Выполненные работы
Фотогалерея
+7
(7212)
780 085
Продукция
Услуги
Компания
Контакты
Выполненные работы
Фотогалерея
✖ Закрыть
Главная
Каталог ЭКГ-5А
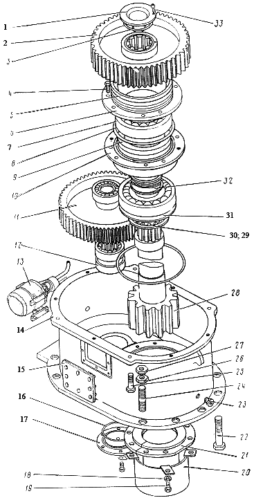
Редуктор поворота в разобраном виде 1080.16.00 СБ
Пробка 1080.16.36 для экскаватора
Пробка 1080.16.36 для экскаватора
Пробка 1080.16.36 для экскаватора
Колесо 1080.16.27-1 для экскаватора
Кольцо 170х180х58-2-2 для экскаватора
Болт 3 М24х90.58 для экскаватора
Лента СП-1500-18-18 для экскаватора
Крышка лабиринтная 1080.16.33 для экскаватора
Подшипник 3636 для экскаватора
Кольцо 1080.16.35 для экскаватора
Крышка 1080.16.31 для экскаватора
Стакан 1080.16.38 для экскаватора
Блок 1080.16.01 СБ
Кольцо распорное Б 190х55 0.03181 для экскаватора
Система смазки 1080.16.12-2 СБ 1082.16.01-1 СБ
Корпус 1080.16.28-1 для экскаватора
Крышка 260х210 для экскаватора
Кольцо 200х215х85-2-2 для экскаватора
Шайба 12 для экскаватора
Крышка 1080.16.30 для экскаватора
Болт М12х40.58 для экскаватора
Кожух 1080.16.04 СБ для экскаватора
Крышка 1080.16.34 для экскаватора
Болт М30х130.58 для экскаватора
Масленка винтовая МВ 3/8'' для экскаватора
Шпилька Б М30х80-110 для экскаватора
Болт 1080.16.87 для экскаватора
Гайка М30А для экскаватора
Гайка М30А для экскаватора
Вал-шестерня 1080.16.25-1 для экскаватора
Манжета З260 II2601 для экскаватора
Пружина 260 для экскаватора
Стакан 1080.16.37 для экскаватора
Труба 1080.16.42 СБ для экскаватора
Винт М16х30.56 для экскаватора
Заказать
Продукция
Карьерные экскаваторы
Мельницы
Шагающие экскаваторы
Дробилки
Электродвигатели
Услуги
Услуги по обслуживанию карьерных экскаваторов серии ЭКГ
Услуги по капитальному ремонту экскаваторного парка типа ЭКГ
Ремонт крупных электрических машин постоянного тока
Компания
О компании
`
Заявка на заказ
Спасибо. Заявка принята. В ближайшее время с Вами свяжется наш менеджер.
Обратная связь
Спасибо. В ближайшее время с Вами свяжется наш менеджер.